百度统计后台出现大量违禁词是怎么回事
2019-08-26 23:56:59 编辑:广告联盟 评论:0 点击:
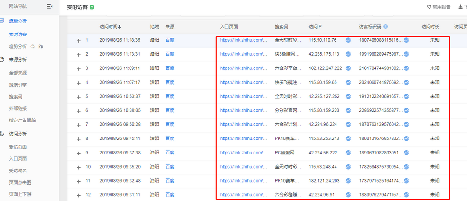
百度统计是现在很多站长都在使用的第三方统计,近日某广告联盟网站表示自己用来观察百度优化的百度统计中莫名出现了不少赛车,时时彩类的违禁广告关键字。他们来源显示的是百度是入口又却不是自己网站链接。
而这并不是个例,联盟网打开百度站长平台论坛发现也有其他站长反馈此问题。有人反应8.22号开始,百度统计的数据就开始不正常了,为什么统计全是一些垃圾网站的数据。而检查自己网站代码并无问题。

从最近频繁发生的网站统计出现违禁词来看,这一波估计会很有很多站中招,对此也建议各位站长,平时尽量避免使用刷流量一些软件,容易被黑。少在一些不明的站长交流群嘚瑟自己网站多牛,流量大不搞你搞谁。也不要频繁的在一些站长工具查询,这些也会留下线索。
目前如果想要避免持续出现不明来源统计的话目前就只有禁止该IP访问,让它进不来,其他的暂时没啥好办法!
下方为百度统计官方对此问题反馈后的回复:
您好,
感谢您的反馈,根据您的情况,我们怀疑您网站的百度统计代码被恶意盗用,导致您的百度统计后台出现他人网站。您可以在百度统计后台通过“排除规则设置”将恶意流量排除,排除后将不会影响您的统计结果。
百度统计团队联合法务正积极联系工信部解决此问题,您也可通过***对作弊网站进行举报。
同时为防止更多此类情况发生,百度统计团队即将推出域名白名单功能,将在近期上线,给您带来的不便深感抱歉。
衷心感谢您的反馈。
根据官方对此的恢复来看,暂时只能禁止禁止与屏蔽,要想彻底解决此问题只有等百度统计推出域名白名单功能。
上一篇:广告联盟网站优化内链常见方法
下一篇:回顾SEOVIP如何做到单页面排名百度首页

